
Cell C extends HSPA+ coverage across the Free State
By Staff Writer 8 September 2011Local mobile operator Cell C extends its HSPA coverage footprint in the Free State. FULL STORY >

Local business woman appointed as Ambassador for UN youth awards
By Staff Writer 12 July 2011Communications company Telfree is encouraging young South Africans to enter the World Summit Youth Awards, an ICT initiative of the United Nations. FULL STORY >

LulzSec cruise comes to an end
By Johan Keyter 27 June 2011LulzSec brings an end to its aggressive hacking spree after 50 days on the open ocean. FULL STORY >

Sony discloses E-mount lens specs
By Staff Writer 9 February 2011Sony announced that it will disclose the basic specifications of its E-mount for interchangeable single lens cameras, without fee, to manufacturers of lenses and mount adaptor FULL STORY >

Digital video games sales to outnumber packaged ones in 2011
By Johan Keyter 11 January 2011EA CEO John Riccitiello claims that sales of digitally downloaded goods will surpass traditional packaged sales this year. FULL STORY >

AVG update crashes computers
By Johan Keyter 3 December 2010A recent update to the free version of the AVG 2011 antivirus software is causing problems for certain users. FULL STORY >

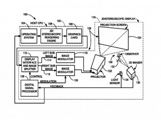
Apple pursues glasses-free 3D
By Johan Keyter 2 December 2010Apple files a patent for a new glasses-free 3D display technology. FULL STORY >

Clingo mounting devices arrive in South Africa
By Christo Myburgh 17 November 2010Clingo's range of universal mounting devices has made its way to South Africa. FULL STORY >

Ovi Music store sees several changes for SA users
By Tom Manners 10 August 2010Nokia Music downloads will now be DRM free FULL STORY >

CellCraft makes science fun
By Johan Keyter 3 August 2010CellCraft is an innovative free game that teaches kids and adults about microbiology through the joys of gaming FULL STORY >

Massive artist collection for DJ Hero 2
By Hanleigh Daniels 16 July 2010Activision will release DJ Hero 2 for the Xbox 360, PS3 and Wii by October. FULL STORY >

Skype Freetalk Buddy Cam
By Johan Keyter 13 July 2010The colourful and very bendable Skype Freetalk Buddy Cam will provide you with instant face to face communication with any of your online contacts. FULL STORY >

To Install or Uninstall - that is the question
By Raymond Robinson 4 June 2010A look at some good freeware available to completely uninstall software on your PC. FULL STORY >

Free anti-virus solutions
By Raymond Robinson 12 January 2010A PC that has been infected with a virus or malware is frustrating and time consuming to fix, but it need not cost you anything. FULL STORY >

Cap free gaming
By Staff Writer 10 November 2009Web Africa announced today that it will launch a free gaming service, WAGE, for customers on December 10, 2009. FULL STORY >
Most Read Articles


Have Your Say
What new tech or developments are you most anticipating this year?
