PREVIOUS ARTICLENEXT ARTICLE
NEWS
Apple pursues glasses-free 3D
By Johan Keyter 2 December 2010 | Categories: news
According to Cnet, Apple is jumping on the glasses-free 3D bandwagon, having recently secured a patent for a method of projecting 3D images without the need for annoying 3D glasses.
It doesn't come as much of a surprise, as the company, known for its sleek and slim devices, wouldn't really be able to pursue its minimalist ambitions while asking users to wear glasses for the next, possibly 3D, iPhone or iPad.
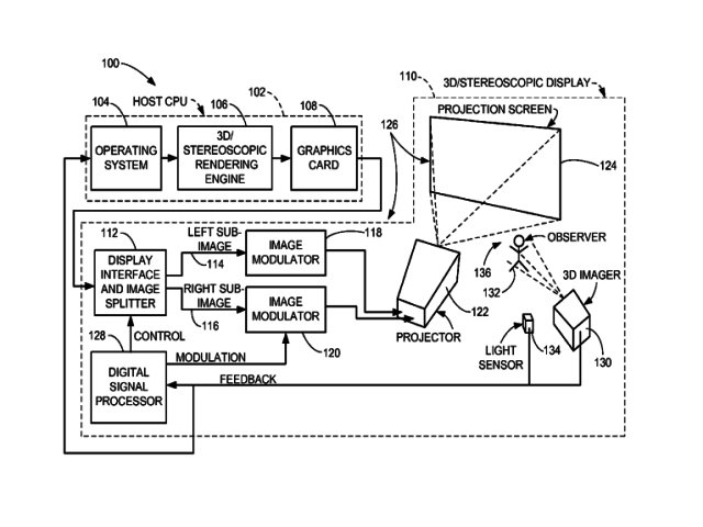
The new system works by projecting each pixel onto a reflective, textured surface which is in turn separately reflected back into a user's left and right eyes, producing the 3D stereoscopic effect that we crave.
The system will also sense the locations of different viewers eyes so that multiple people can watch the 3D images from different angles.
According to the patent application, the technology is, "inexpensive auto-stereoscopic 3D displays that allow the observer complete and unencumbered freedom of movement." This means users will be able to view the 3D images just as they would regular images, without having to sit still or get a perfect angle.
The tech giant also stated in its application that it thought other glasses-free 3D devices available on the market currently isn't up to scratch. "A need still remains for highly effective, practical, efficient, uncomplicated, and inexpensive autostereoscopic 3D displays that allow the observer complete and unencumbered freedom of movement," read the patent application.
This of course doesn't necessarily mean we can be expecting 3D Apple devices within the next few months, but it is something Apple is keeping up its sleeve and if the technology works as promised, the company is sure to utilise it in future products.
USER COMMENTS
Most Read Articles
Read

Magazine Online
TechSmart.co.za is South Africa's leading magazine for tech product reviews, tech news, videos, tech specs and gadgets.
Start reading now >
Download latest issue
Have Your Say
What new tech or developments are you most anticipating this year?
New smartphone announcements (46 votes)
Technological breakthroughs (29 votes)
Launch of new consoles, or notebooks (14 votes)
Innovative Artificial Intelligence solutions (29 votes)
Biotechnology or medical advancements (24 votes)
Better business applications (160 votes)

